全球卖疯了的水气球BUNCH O BALLOONS,开始进行发明专利投诉......
夏日炎炎,人们纷纷寻找各种方式来降温避暑,而打水仗以其互动性和趣味性而成为众多选择之一。
在打水仗中,如何快速灌满水气球成为了一道难题,一家新加坡公司ZURU推出的BUNCH O BALLOONS能够在1分钟之内灌满100个水球,无疑解决了这个难题。截至至今,这个产品在全球范围内引起了强烈反响和畅销,深受消费者的喜爱。

在畅销的背后,势必少不了大量的模仿上架,据往年诉讼情况显示,ZURU每年都会在夏季之前发起TRO维权诉讼,横扫一大批链接并冻结大量资金,诉状主要涉及商标和版权,可参考于我之前的文章:全球卖疯了的水气球BUNCH O BALLOONS,每年都在发案...
以下是投诉邮件部分信息
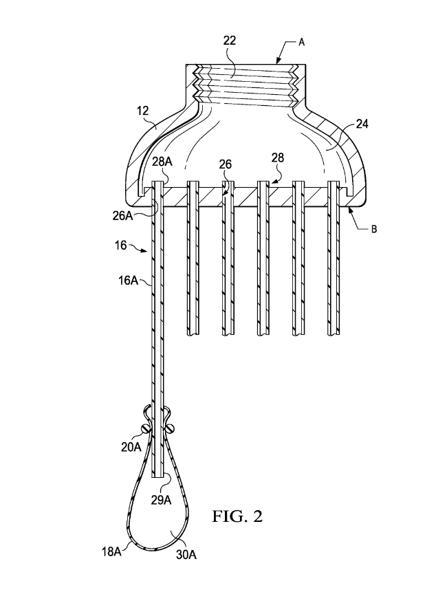
根据投诉邮件的内容,我们可以看到,在权利人一栏中署名为Bunch O Balloons,涉案专利为US9950817B2。该专利一共有3个权利要求,这里仅介绍权利要求#1用于了解专利的技术方案和特征。
| 
      
  | 
    
      
  | 
   
| 
      权利要求#1 1. 一种装置,包括 一个接头,用于连接加压流体;以及 从接头延伸出的至少三个分支组件,每个分支组件包括 在第一端与接头连接的管子; 一个气球,包括一个颈部,管子的第二端插入其中;以及 一个可拆卸地将气球连接到管子上的紧固件,该紧固件被配置为允许来自加压流体供应的流体通过管子并进入气球,并在气球和紧固件与管子脱钩后自动限制流体通过颈部从气球流出。  | 
   |
把市面上大部分的产品和以上专利特征进行比对,产品上基本都包含了盖子,盖子上包含多个细管,水流通过吸管进入气球并在脱离吸管时可以密封气球防止水流溢出,这样的特征不可避免地落入以上专利的保护范围内,几乎没有做不侵权申诉的可能。
根据Patent '817的信息,我还顺藤摸瓜查到权利人名下关于这个水气球的其他专利,结果大吃一惊。权利人在全球范围内共申请了200+专利,超过一半的专利已经成功注册,其中

①权利人在全球范围内共注册70个外观专利,且都是在2015年进行注册;

②权利人在美国共有23个发明专利(包括申请案),最早的专利申请于2014年,第一个发明专利是US9051066B1。
| 
      
  | 
    
      
  | 
   
| 
      权利要求#1 1. 一种装置,包括 一个壳体,壳体的第一端有一个开口,第二端有多个延伸穿过壳体公共面的孔; 多个柔性空心管,每个空心管在壳体第二端的一个孔处连接到壳体上; 多个容器,每个容器可拆卸地连接到各自的一根中空管上;以及 多个弹性紧固件,每个弹性紧固件将多个容器中的一个容器夹紧到相应的空心管上,每个弹性紧固件被配置为提供一个连接力,该连接力不小于其中一个容器在基本装满水时的重量,并在容器从相应的空心管上分离时自动密封多个容器中的各自一个容器,这样,在容器基本装满水的状态下摇动空心管可以克服连接力并使容器从空心管上分离,从而使弹性紧固件自动密封容器、 其中,该装置被配置为基本上同时向容器中注入液体。  | 
   |
以上两个专利,虽然专利附图和权利要求的组件数量没有改变,但是它们对组件的特征和要求进行了改动,调整可替代方案去保护核心技术和产品,进一步巩固市场地位。
一个产品的专利布局需要考虑申请的时间、地点和核心技术的保护等等,这些思路和产品的销售市场密不可分,因此如果一个企业花费了大量的时间和金钱去为一个产品做知识产权的全方位布局,那么这个产品一定是该企业的王牌产品,企业一定会为了它不竭余力地维权。
以上是本期介绍的全部内容,感谢观看!
往期回顾
Revomax无螺纹单手开合保温杯盖,引领便携喝水的创新
抱团交流
一个集大神卖家与逗趣同行于一体的交流群,扫码添加客服微信(备注“进群”哦)。
                                                目前100000+人已关注加入我们
                                                      
                                                      
                                                      
                                                      
                                                      
                                                      
                                                      
                                                      
                                                      
                                                      
                                                      
                                                下一篇:运价下滑,亚马逊缩短运输时间,9月第一周物流怎么发?
上一篇:顺丰回应香港IPO进展;亚马逊多个仓库仓爆仓;中国外运、东航物流发布2024年半年报
文章为作者独立观点,不代表AMZ520立场。如有侵权,请联系我们。
                                    



