突发!专利维权,大批listing惨遭亚马逊下架!

本周继续分享最新起诉的热门侵权案

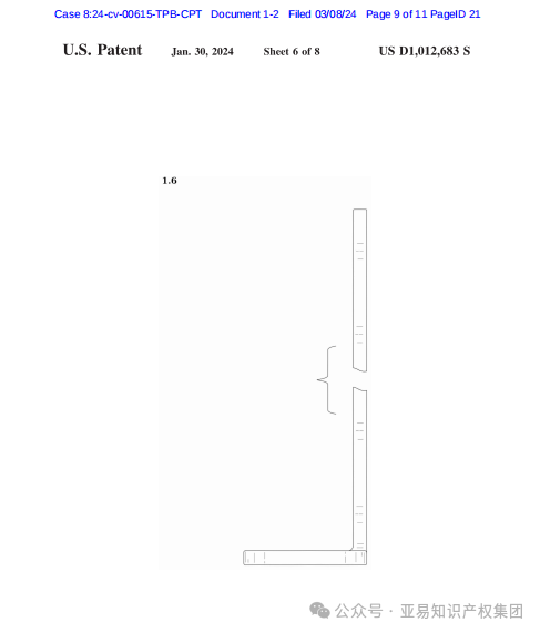
案件一:YU LUO隔板支架专利案
原告Yu Luo是一名来自中国的卖家,负责Shelf Bracket货架支架的设计和销售。该货架支架只要由钢制成,有比较强大的支撑力和承载力,适合悬挂在车库,办公室等等一些需要承载重物的地方。
本案被告侵犯了Yu Luo的专利,由Robert DeWitty律所代理的案件号:24-CV-00615、 24-cv-01977的Yu Luo隔板支架专利案件。

案件信息:
起诉时间:2024.3.8
案件号:24-CV-00615 24-cv-01977
维权类型:专利
维权专利号:USD1012683S
原告品牌:Yu Luo
品牌:Yu Luo
代理律所:Dewitty And Associates, Chtd.
案件情况及侵权分析:
来自中国的Yu Luo起诉专利侵权案在2024年3月8号发起,案件号24-cv-00615、 24-cv-01977,本次主要针对Yu Luo的隔板支架专利案侵权维权。
品牌起诉理由:专利侵权



引证的具体专利侵权如下:














产品示例:

案件二:SHANGYOU JIAYI )
LIGHTING PRODCUT CO., LTD.专利案
原告是一家来自中国江西的卖家,所属行业为专用设备制造业,主要负责生产和销售灯饰制品。该公司研发的藤灯是一种创新的灯饰产品,旨在节日装饰中大显身手。相比传统的LED灯串,这款产品更具特色,形似小鞭炮,被俗称为鞭炮灯。
本案维权的一款藤灯发明专利,这款藤灯包括多个灯串,每个灯串包括多个发光元件和并排设置的两根导线。结构十分简单,但是实用耐用,不少家庭放置于庭院用于照明或者装饰使用。

(图片来源:https://www.amazon.com/ 引用日期:2024年3月14日) (图片是根据其专利排查的产品,非原告产品)
本案被告侵犯了SHANGYOU JIAYI 的专利,由AVEK IP, LLC律所代理的案件号:24-cv-01358的SHANGYOU JIAYI 藤灯专利案件。
案件信息:
起诉时间:2024.2.16
案件号:24-cv-01358
维权类型:专利
原告品牌:SHANGYOU JIAYI LIGHTING PRODCUT CO., LTD.
品牌:SHANGYOU JIAYI LIGHTING PRODCUT CO., LTD.
代理律所:AVEK IP, LLC
案件情况及侵权分析:
来自中国江西的SHANGYOU JIAYI起诉专利侵权案在2024年2月16号发起,案件号24-cv-1358,本次主要针对SHANGYOU JIAYI的藤灯专利权案侵权维权。
本案维权主要针对一款全新的藤灯及其制作方法,该灯由多个灯串组成,每个灯串包含多个发光元件和并排设置的两根导线,灯珠通过透明封装层封装,导线交叉缠绕设计使得产品更加安全可靠,同时满足视觉美感和实用性需求。
品牌起诉理由:专利侵权



引证的具体专利侵权如下:

产品示例:

总结:
本次两大案件的起诉律所分别如下:
(1)YU LUO隔板支架专利案律所:Robert DeWitty
(2)SHANGYOU JIAYI藤灯专利案律所:AVEK IP, LLC
以上就是近期起诉侵权的专利案。两大品牌紧锣密鼓地开展了专利保护行动,卖家们务必留意,避免在商品链接及详情页中误用这些品牌的专利。
在专利侵权案件中,需要审视使用专利的具体分类。若卖家发现自己存在侵权行为,应做好和解或应诉的准备。原告方往往会提出高额赔偿要求,这时被告最好寻求律师协助,以确保能够谈判出合理的赔偿金额。若您需要专业的侵权和解服务,或是想了解自己的产品有无侵权,欢迎留言咨询~
更多侵权个案
扫描下方二维码
针对性,一对一免费咨询分析








抱团交流
一个集大神卖家与逗趣同行于一体的交流群,扫码添加客服微信(备注“进群”哦)。

目前100000+人已关注加入我们












下一篇:969家店铺资金被冻结!版权画连发5案!还有最新旗帜灯专利维权,注意避雷!
文章为作者独立观点,不代表AMZ520立场。如有侵权,请联系我们。