布料印花及毛孩子作品持续发案,真空封口器专利分析

在版权维权的浪潮中,Keith律所持续发力,近期更是将焦点锁定在了布料印花与动物宠物绘画这两个领域的侵权案件上。继之前的行动之后,新一轮的维权行动再次掀起波澜,让我们一同了解此次的创作风格。
案件号:25-cv-00247
立案时间:2025年1月9日
原告:Taylor Bates
原告官网:https://www.spoonflower.com/
代理律所:Keith
Bates是一名室内设计师,她专注于创作适用于织物和壁纸的图形。在她的众多作品中,水彩画中的自然元素是其核心主题,通过这些元素,她成功地将自然之美融入到设计作品中,为室内空间带来生动与活力。

维权的版权
▼
以下是其官网展示的印花
列举小部分给大家规避
▼

案件号:25-cv-00251
立案时间:2025年1月9日
原告:Maria Isabel Alvarez Charro
原告律所:
https://society6.com/a/artists/miacharro/
代理律所:Keith
Charro的插画作品通常洋溢着奇幻的色彩,频繁地反映出她对神秘、狂野以及奇妙非凡之物的深厚热爱。通过这些作品,她展现了花朵与动物所蕴含的自然之美。

维权的版权
▼
案件号:25-cv-00272
立案时间:2025年1月9日
原告:S***o., Ltd.
代理律所:Bishop Diehl & Lee, Ltd.
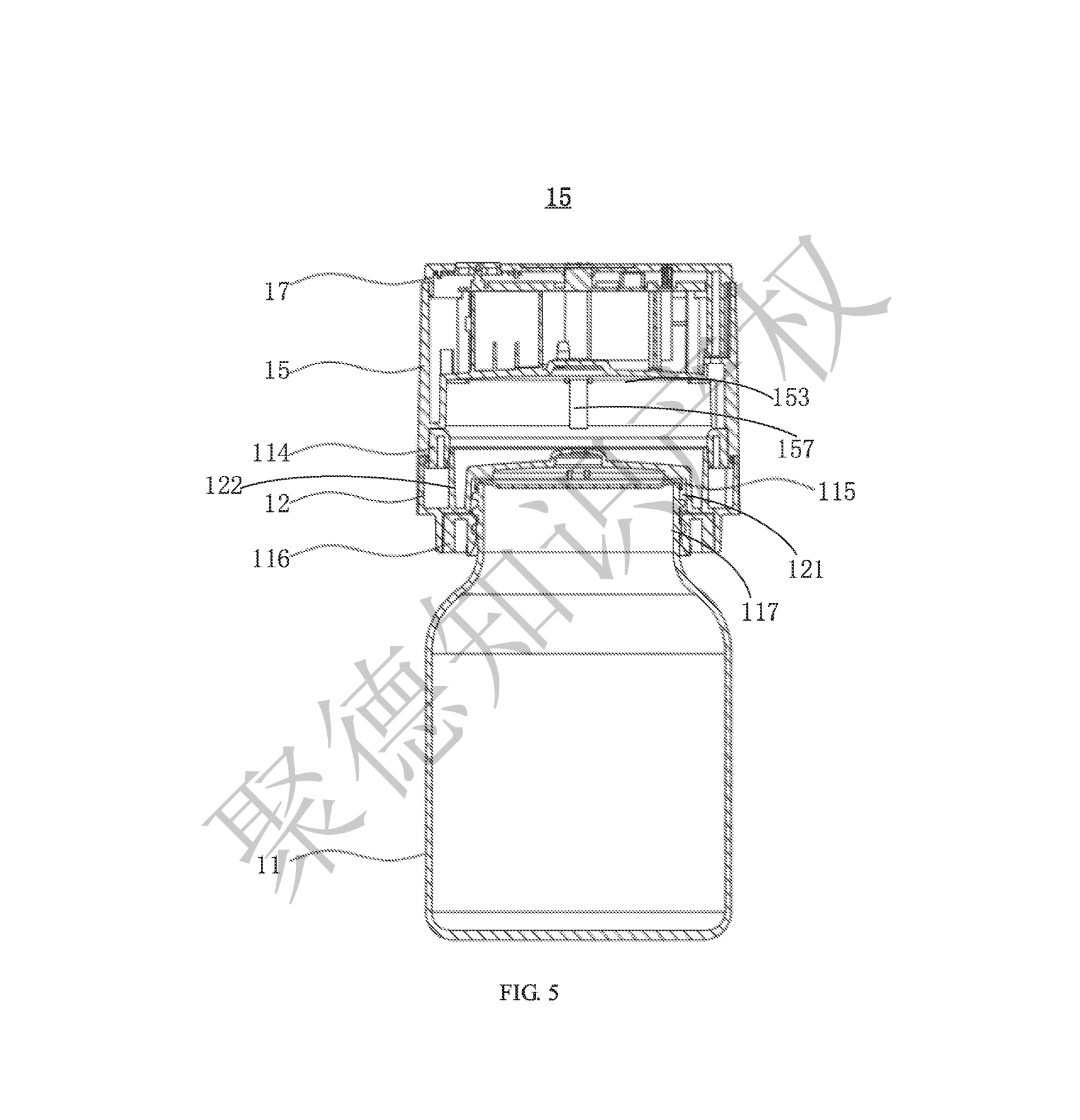
这款自动停止真空封口器使用便捷,只需将广口瓶真空封口器套装精准放置于瓶盖中心位置,并施力按压使其紧密贴合。之后,轻按启动按钮,设备便会自动执行真空封口操作。一旦封口工作顺利完成,封口器便会自动停止运行,无需用户进行任何手动干预。这设计能够有效密封瓶内食品,锁住其风味、营养价值和新鲜度,延长食品的储存期限。

维权的专利
▼

发明专利的保护要点
▼
主要保护隔离板153上的输气管157,以及真空泵154通过输气管157进行抽气操作。收容腔体152内设有电磁阀156,该电磁阀156与主板16相连。电磁阀156的作用是在打开时将气体输入第一套筒151中,以此来解除第一梅森罐体和第二梅森罐体11与梅森罐主机15之间的连接。

别划走,后面还有精彩回顾
推荐阅读
抱团交流
一个集大神卖家与逗趣同行于一体的交流群,扫码添加客服微信(备注“进群”哦)。
目前100000+人已关注加入我们
下一篇:疯狂吸金500多万!又一产品卖爆亚马逊,但却藏有侵权风险!
文章为作者独立观点,不代表AMZ520立场。如有侵权,请联系我们。




