GBC打响25年商标维权的第一枪!戴姆勒卡车以及发光全身镜和铰链头装饰版权维权!速速自查下架!!!
2025第一波国人维权案件!狐狸熊猫版权画以及装饰灯串专利维权!后附一案件名单,速自查!
女巫雕像和Boredwalk品牌多版权维权,以及国人原告益智游戏磁力对战棋专利维权,附一名单!速排查!
国人扎堆维权!玩具板、不锈钢抹布、自行车壁挂架危险!不能在卖!快快自查下架!!!
便便小狗又来商标维权!骷髅头插画、骷髅蜗牛玩偶、恐龙插画版权维权进行中!
国人原告扎堆发案,积木玩具、电脑包以及沙发托盘桌,后附一案件名单!又有多少卖家中招?
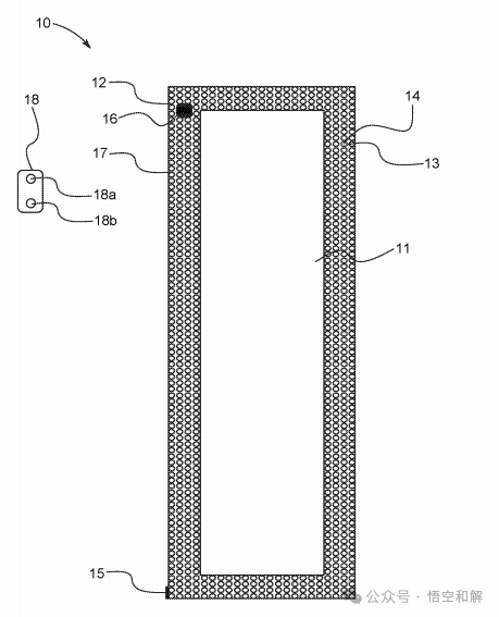
TinyBiotics 铰链头
24-cv-13100 TinyBiotics 铰链头
TINY BIOTICS, LLC
Sriplaw
品牌介绍
原告TINY BIOTICS, LLC是在亚利桑那州成立的一家公司,由Hollie Liles创立,主要是做铰链头装饰产品的销售。
产品官网:https://www.etsy.com/shop/TinyBiotics

注册版权
以下是原告的注册版权信息


刊登举例
以下是原告店铺的刊登,有销售类似产品的卖家朋友们注意排查!!!

发光全身镜
24-cv-13409 发光全身镜
Bling Mirror LLC
BISHOP DIEHL & LEE, LTD.
品牌介绍
本案维权的是一款能亮灯的全身镜,非常适合狭小空间,提供更广阔的视觉效果并增强空间感。足以让您一眼就能看到您的全套服装。而且镜子带灯,使镜子足够明亮,让您可以做化妆、护肤、剃须和打扮。
注册专利
以下是这款发光全身镜的注册专利信息



Daimler Truck 戴姆勒卡车
25-cv-29 Daimler Truck 戴姆勒卡车
Daimler Truck AG et al
GBC
品牌介绍
原告Daimler Truck AG是德国的公司,也是世界上最大的商用车制造商之一,每年销售数十万辆卡车和公交车,每年带来超过500亿美元的收入。在他们的全球网络中,原告开发和生产卡车和巴士,隶属于货运班轮、托马斯制造巴士、西部之星、梅赛德斯-奔驰、FUSO、巴拉奔驰、RIZON和塞特拉品牌(统称为“戴姆勒品牌”)。
产品官网:https://www.daimlertruck.com/en

注册商标
下面是原告的注册商标信息,本案维权商标信息较多,卖家朋友注意仔细排查!






刊登举例
原告的注册商标是不能直接用的,卖家需注意规避!!!!

更多侵权预警,欢迎关注悟空和解公众号:wukonghejie
案件和解咨询相关业务可以直接加悟空微信:wukonghejie6
2024最全案件列表以及品牌详情尽在官网:
https://wukonghejie.com/2024-case/
也欢迎进入我们的侵权防范信息交流QQ群:805332114 (美国律所侵权防范交流群)
(群内有专业处理案件的同事随时给大家排忧解难,最新消息同步更新,先人一步,没事进来唠唠嗑!)
1.悟空累计处理案件超10000起
2.最全案件信息,一手资料最快发布
3.中国、美国当地均有合作律师,可随时上庭
4.前期无定金,可议价多次,不和解不收费
5.律师费市场性价比最高,当天处理,案件回复快
6.可多次议价 费用市场最低,小额案件限时优惠

抱团交流
一个集大神卖家与逗趣同行于一体的交流群,扫码添加客服微信(备注“进群”哦)。
目前100000+人已关注加入我们
上一篇:“MarTech 100” 年度榜单征集公告|1月15日截止
文章为作者独立观点,不代表AMZ520立场。如有侵权,请联系我们。
