侵权必究!Tee Turtle翻转章鱼、三明治封口器和蓝牙棒球帽

当市场上的热门产品
如Tee Turtle翻转毛绒玩具
实用便捷的三明治封口器
时尚与科技完美结合的蓝牙棒球帽
成为众多商家竞相追逐的爆款时
一个严峻的现实不容忽视
它们不仅仅是商品
更是专利和版权法保护的对象
盲目跟风销售这些未经授权的“爆款”
让自己卷入侵权旋涡中
案件号:24-cv-08669
立案时间:2024年9月19日
原告:Tee Turtle, LLC.
原告官网:https://www.teeturtle.com
代理律所:Boies Schiller Flexner LLP
Ramy Badie在2012年成立了Tee Turtle,以推广他原创角色的衍生产品。其中,最受欢迎的产品是可翻转毛绒玩具,这些玩具能够从一面翻转到另一面,展现出不同的颜色和表情。自2015年起,Tee Turtle为其TEE TURTLE系列产品申请了多项版权登记,并注册了商标。

原告尚未公开版权的具体内容,但根据版权的标题推测,可能涉及章鱼和独角兽等设计。
涉及的版权
▼

维权的商标
▼
案件号:24-cv-08606、24-cv-08575
立案时间:2024年9月18日
原告:Jetteo, LLC
代理律所:Avek Ip, LLC
原告推出了一款用户友好的三明治封口器,该产品使用简便。用户只需在面包上填充自己喜欢的食材,然后轻轻一压,封口器的锋利边缘就能将面包压成口袋状,同时紧密而均匀地压缩三明治的内馅,有效防止食材溢出和面包碎裂。

对应的专利
▼

专利的独特之处在于其创新的弯曲内表面设计,这一设计能够紧密地压缩三明治的上层部分,有效防止裂缝的形成和馅料的溢出。此外,这种弯曲的内表面还为三明治的上半部分增添了一个轻微的凸起,增强了实用性。
案件号::24-cv-08626
立案时间:2024年9月19日
原告:AUDIOWEAR TECHNOLOGY
原告官网:https://audiowear.com/
代理律所:Ice Miller LLP
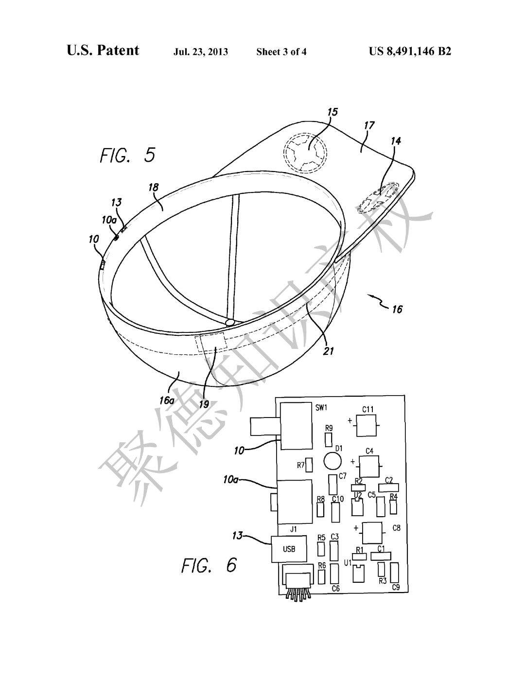
Speakerhat是一款带有高保真立体声扬声器和麦克风的棒球帽,支持快速蓝牙配对,能够轻松连接至各种蓝牙设备。

对应的专利
▼

棒球帽内置了能够接收信号的电路板,该电路板通过特殊的防汗带设计,将信号传输到帽子上的扬声器,以此放大声音。尽管该设计受到专利保护,但专利的规避是可行的。原专利主要限定了通过USB方式进行通信,并且涉及特定的防汗带设置方式。因此,要规避该专利,可以考虑不采用USB通信方式,并且对防汗带的设置方式进行创新设计,从而实现技术规避。
发明专利侵权的判定是一个复杂的过程,通常需要对产品进行细致的技术分析,并与专利权利要求进行比对。如果产品的内部结构包含了专利权利要求中的所有技术特征,那么会被认定为侵权。
然而,即使产品落入了他人的专利保护范围,以下几种情况有助于规避侵权的风险:
-
您的产品在原告专利申请至少一年前就已经公开销售;
-
相同的产品在市场上已经销售超过一年;
-
您的产品与原告的专利相同,但这些产品在市场上销售已经超过一年,原告才申请专利;
-
您的产品与原告的专利产品相似,但该专利是基于两种已知技术的组合(A+B)获得的,您可以通过证明专利的无效性来认定您的产品没有侵权。即使可能会面临诉讼,也有机会提出有效的抗辩。
为了支持非侵权的立场,如果能找到公开的时间记录,这些记录必须包含图片评论等证据(不仅仅是产品上架链接的时间),这些证据将有助于证明您的产品在专利申请前已经公开,从而避免赔偿责任。
别划走,后面还有精彩回顾
推荐阅读
抱团交流
一个集大神卖家与逗趣同行于一体的交流群,扫码添加客服微信(备注“进群”哦)。
目前100000+人已关注加入我们
下一篇:【TRO 24-cv-8484】David律所代理Jose Martin 趣味水果版权发案,多用于装饰画,速排查!
文章为作者独立观点,不代表AMZ520立场。如有侵权,请联系我们。




