速速排查下架!昆虫陷阱美国专利已下发!
本期推文末端已向各位卖家推荐“合作伙伴”,感兴趣可扫码添加哦~
       太过于巧合!
    去年无意发起的侵权推文,这不今年就开始投诉了!

夏季多是蚊虫叮咬昆虫肆虐的季节,所以也往往是这俩产品的销量好时节!
     所以这款老品就被卖家盯上进行跟卖!确实销量还不错!
     那么侵权风险系数高不高?
     下面ALice一一帮您解答:

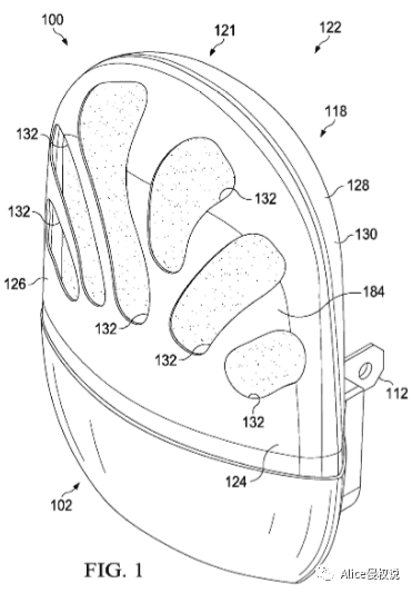
这款产品隶属ZEVO,新品已经上架销量急剧攀升。
     独立站:https://zevoinsect.com/
专利角度
     2020年8月份就开始申请专利,历经近2年时间,于本周6月6日下证。
美国专利D988462;
      加拿大专利CA201686;


所以北美的卖家们就要多多小心了!
      已有专利重复申请要小心权利方的大动作!
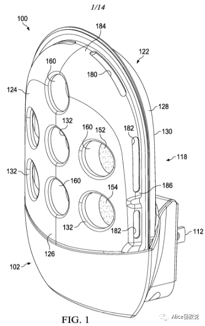
同时,该独立站(https://zevoinsect.com/)中的其他三款昆虫陷阱也同时均已注册发明专利和外观专利,下面就直接简略展示:

(1)专利号:USD959593S;CA202066;


(2)专利号:USD834137S;WO2019112833A1;JP1600473S;


(3)专利号:USD878512S;WO2018183277A1;JP1600455S;

谨小慎微、
专利安全,且行且珍惜。
好了,以上则为本期“昆虫陷阱”的全部侵权内容。谨防专利版权侵权
请及时关注侵权资讯,排查自有选品库,谨防专利/版权侵权。
温馨提示:
专利侵权风险:☆☆☆☆☆
          
           优质服务商推荐
           推荐
优质服务商
               青枫法务(知识产权) 主营:TRO侵权案件和解应诉 专利商标版权注册

     关注ALice,侵权不迷路
,有侵权问题直接私信来call!
抱团交流
一个集大神卖家与逗趣同行于一体的交流群,扫码添加客服微信(备注“进群”哦)。
                                                目前100000+人已关注加入我们
                                                      
                                                      
                                                      
                                                      
                                                      
                                                      
                                                      
                                                      
                                                      
                                                      
                                                      
                                                下一篇:又一波国人原告专利维权强势来袭!产品包含无线充电器、移动空调套件和夹钳!以及明星周边卖家注意!美国男歌手多个商标维权速看!
上一篇:2024亚马逊Prime会员大促将于10月8日-9日举行!
文章为作者独立观点,不代表AMZ520立场。如有侵权,请联系我们。
