要了命了!远程操作喷雾罐的器具真的有发明专利!
本期推文末端已向各位卖家推荐“两大合作伙伴”,感兴趣可扫码添加哦~
实用的户外产品不多了。这不,现在就爆热了一把!

新型 Gotcha Sprayer TM Pro 适配器配有可选的手电筒附件和改进的尼龙带。 Gotcha Sprayer Pro 是一款适配器,可让您从延长杆末端触发气溶胶和某些粉末(吹气式)除尘器,从而无需梯子。 Gotcha Sprayer Pro 非常适合在难以到达的区域喷洒昆虫,以及为椽子上的木蜂喷洒灰尘,所有这些都带有相同的适配器且无需梯子。

品牌:Gotcha Sprayer
独立站:https://www.forestry-suppliers.com/
Amazon品牌备案店铺:B0042T5PBO
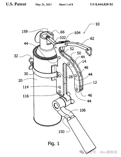
发 明 专 利
US8444020B1 用于手持或远程高架操作气溶胶喷雾罐的组件


然后改动了几个小组件,但是也不影响侵权判定哦!
目前该专利还处于有效保护状态,
卖家们谨防专利侵权哦!
谨小慎微、
账号安全,且行且珍惜。
好了,以上则为本期“远程喷雾管操作器”的全部侵权内容。谨防专利版权侵权请及时关注侵权资讯,排查自有选品库,谨防专利/版权侵权。
温馨提示:
专利侵权风险:☆☆☆☆☆
优质供应商强烈推荐
主营:小蓝海 全球专利布局 自主研发设计 私模定制 全品开发 欢迎扫码添加

优质服务商推荐
推荐
优质服务商
青枫法务(知识产权) 主营:TRO侵权案件和解应诉 专利商标版权注册

关注ALice,侵权不迷路
,有侵权问题直接私信来call!
抱团交流
一个集大神卖家与逗趣同行于一体的交流群,扫码添加客服微信(备注“进群”哦)。
目前100000+人已关注加入我们
文章为作者独立观点,不代表AMZ520立场。如有侵权,请联系我们。
