不一样的捕鼠器,国外真的没有专利哦!
本期推文末端已向各位卖家推荐“两大合作伙伴”,感兴趣可扫码添加哦~
Tratper 的标志性隧道陷阱以其独特的一键式锁定机制和外壳树立了安全性和无与伦比的性能的黄金标准。
其耐用的材料和可重复使用的结构能够承受最严峻的挑战。

独立站官网:https://tratper.com/
Amazon品牌备案店铺:https://www.amazon.com/stores/Tratper/page/AF188CD0-700D-4ACB-9B64-83E771CD6768?ref_=ast_bln
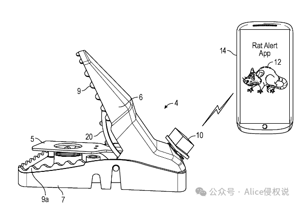
专 利 方 面
目前权利人暂无注册相关专利。倒是在2022年时,某国人公司注册了中国专利。
专利号CN202230057813.X,专利图如下:

目前涉外注册的专利都是普通捕鼠器,以下是相似专利信息:
美国专利号USD961715

美国专利号USD925000

专利号WO2017036480A1

同时各位跟卖的卖家请谨防(美国站)独立站版权风险哦!
请注意,tratper捕鼠器绝对original
谨小慎微、
账号安全,且行且珍惜。
好了,以上则为本期“捕鼠器”的全部侵权内容。谨防专利侵权
请及时关注侵权资讯,排查自有选品库,谨防专利/版权侵权。
温馨提示:
专利侵权风险:☆☆☆☆☆
优质供应商强烈推荐
主营:小蓝海 全球专利布局 自主研发设计 私模定制 全品开发 欢迎扫码添加

优质服务商推荐
推荐
优质服务商
青枫法务(知识产权) 主营:TRO侵权案件和解应诉 专利商标版权注册

关注ALice,侵权不迷路
,有侵权问题直接私信来call!
抱团交流
一个集大神卖家与逗趣同行于一体的交流群,扫码添加客服微信(备注“进群”哦)。
目前100000+人已关注加入我们
下一篇:解锁eBay Fufillment多SKU刊登宝藏功能,刊登省力又能提高转化率!
文章为作者独立观点,不代表AMZ520立场。如有侵权,请联系我们。
