2 合 1 煎蛋器,听说最近tiktok来势汹汹?
本期推文末端已向各位卖家推荐“两大合作伙伴”,感兴趣可扫码添加哦~
目前Amazon清一色的红色双用煎蛋铲,独特的包装ALice一度认为是独立站产物。
不过,目前暂无大的收获。除了B00ZY6HBKW特别指向以外:

Amazon品牌链接:
https://www.amazon.com/exec/obidos/ASIN/B00ZY6HBKW/00002ind-20
专 利 布 局
不查不知道,一查吓一跳!
目前有比较贴近该素材的,有两款双用煎蛋铲专利。不过很遗憾,目前均已失效!
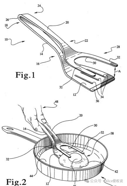
中国实用新型专利CN202653989U

美国发明专利US5403052A

如上所述
该产品可放心销售哦,当然禁止跟卖必须的!
谨小慎微、
账号安全,且行且珍惜。
好了,以上则为本期“煎蛋铲”的全部侵权内容。谨防专利侵权
请及时关注侵权资讯,排查自有选品库,谨防专利/版权侵权。
温馨提示:
专利侵权风险:☆☆☆☆☆
优质供应商强烈推荐
主营:小蓝海 全球专利布局 自主研发设计 私模定制 全品开发 欢迎扫码添加

优质服务商推荐
推荐
优质服务商
青枫法务(知识产权) 主营:TRO侵权案件和解应诉 专利商标版权注册

关注ALice,侵权不迷路
,有侵权问题直接私信来call!
抱团交流
一个集大神卖家与逗趣同行于一体的交流群,扫码添加客服微信(备注“进群”哦)。
目前100000+人已关注加入我们
上一篇:继今年加拿大上调官费后,美国于2025年1月开始上调官费,涨幅比例48%
文章为作者独立观点,不代表AMZ520立场。如有侵权,请联系我们。
