拉出式钥匙包专利侵权风险评估
| 专利号:US6435340B1(已过期) |
|
技术特征: -该钥匙盒采用了可逆套筒设计,由弹性基质织物制成,可以对钥匙施加压力,使得钥匙保持静止。 -开口环【2】可以穿过套筒【1】中的两个孔,一半在内侧,一半在外侧,可以在套筒的任一侧挂载钥匙。 -通过反转套筒的配置,钥匙可以被安全地固定在套筒内,或者挂载在套筒的另一侧,方便访问。 |
|
|
| US5042649A(已过期) |
|
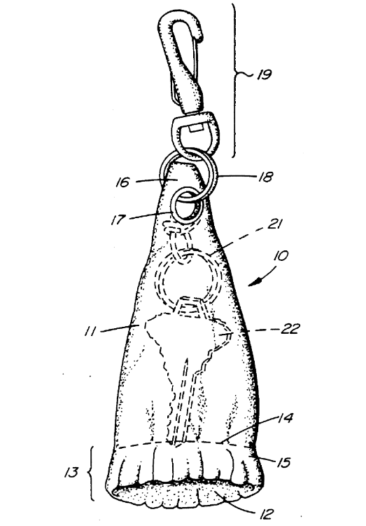
技术特征: 1. 一种钥匙包,包括 a) 一个由薄而柔软的可翻转材料制成的袋子,它有一个宽的开口端和一个窄的封闭端; b) 位于所述袋子的开口端处的弹性压脚,所述弹性压脚由缝制在所述袋子的宽开口端处的下摆中的弹性部件形成; (c) 在所述袋子的闭合端有一个金属孔眼;以及 d) 固定长度、不可伸展的链节,固定在所述袋子内部的孔眼上; 据此,钥匙可固定在所述链节上,并可完全放置在所述袋子中,也可暴露在所述袋子外,以便通过将所述袋子从内向外翻转来获取钥匙。 |
![]() |
虽然以上两个专利从实施例来看,和上述提到的抽取式钥匙收纳包比较相似,但这两个专利描述的是通过翻转袋子以实现收纳钥匙串的目的,而上述介绍的产品并不需要翻转,二者的实现方式不同。
| 专利号:US10182632B2(已注册) |
|
技术特征: - 一个罩,具有顶部开口和底部开口,底部开口延伸至罩的整个宽度和深度; - 罩的外表面上有一个口袋; - 一个可以选择性关闭在口袋开口上以固定口袋的翻盖,翻盖包括一个孔; - 一根穿过罩顶部开口和翻盖孔的带子,带有第一端和第二端; - 第一端带有卡扣,可以选择性打开和关闭,以便将卡扣直接固定在用户可穿戴物品上; - 第二端带有用于接收物件的物件保持机制; - 罩可以沿着带子滑动,从一个存放位置,罩基本覆盖物件,到一个访问位置,物件位于罩外使得可以访问物件。 |
|
|
这个专利的状态是有效中而且同样是抽取式收纳钥匙串的方式,但在专利的技术特征中提到了在产品的外表面有一个口袋,口袋上还有一份翻盖,如果你的产品不具备这一特征,那么也不会落入’632 Patent的保护范围。以下是发明人在亚马逊销售的产品:

除此之外,以下是已经注册的外观专利,需要注意规避对应的站点,如果已经有了欧盟专利,这款产品上架到欧盟站点将会有侵权风险。专利保护具有强地域性,只在注册的国家或者地区受保护。
|
专利号 |
申请日 | 专利图 |
| CN302956533S | 2014-06-09 | ![]() |
| CN306485160S | 2020-11-24 |
|
|
EU0150453470001S GB6335432S |
2023-12-22 |
|
| EU0150461120001S | 2023-12-29 |
|
往期回顾
宠物门闩Flexlatch发明专利下证了,你的产品是否侵权?
鸡尾酒烟熏器在VA州起诉发明专利侵权,跨境电商卖家可以从中得到什么启示?
100年前的酒窝制造器在Tiktok重新引起热潮,专利已过期!
音乐拳击机Music Boxing Machine专利侵权风险评估
抱团交流
一个集大神卖家与逗趣同行于一体的交流群,扫码添加客服微信(备注“进群”哦)。
目前100000+人已关注加入我们
文章为作者独立观点,不代表AMZ520立场。如有侵权,请联系我们。








