这种香水分装瓶的侵权风险万万不可小视!
香水通常包装精美,但不适合外出携带,这时候香水分装瓶的作用就体现出来了。不过普通的香水分装瓶都是拧开瓶盖,然后倒入香水,例如下面这种:

这种香水分装瓶在倒入香水时容易洒落导致浪费,瓶口密封性不够好容易导致香水挥发,并且这种瓶子看起来也不够“高档”。
于是就出现了GENIE-S香水分装瓶:
         
         像打火机一般的底部充气式添加香水,避免浪费和挥发,携带也更为方便。

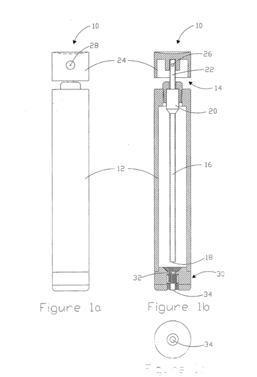
专利情况:
WO2005101969A2 替换装香水瓶
本发明的一个目的是提供一种替换装瓶,该替换装瓶适合于通过设置在具有喷射机构的瓶子中的加压液体容易地再装满本发明的另一个目的是提供一种替换装瓶,该替换装瓶适合于再填充液体,例如香水、须后水等。

这项专利的技术相对比较简单,因此也不必做过多讲解把简单的问题复杂化。只需要联想到打火机充气,把打火机替换成香水瓶就可以理解了。
此外,还有一些香水分装瓶也是GENIE-S类似的金属外壳,但瓶子设计还是最普通的螺旋瓶盖设计(有些看不到瓶盖设计,但可以确认没有充气口),看上去容易让人迷惑,不过这种是不侵权GENIE-S专利的。

         全面系统学习跨境侵权相关知识
戳链接了解详情:a.第三期知识产权系列课程上线了!b.课程视频节选
产品侵权检索 可包年包月 还有套餐!
戳链接了解详情:a.侵权审核包月怎么包? b.查侵权套餐,是个什么情况?
发明专利 外观专利 分析规避
出具分析报告,提供规避建议,详情请私聊侵权哥
律所起诉维权 资金冻结
应诉or和解,费用低至1500rmb起
美国版权 英国外观专利 注册
费用低,时效快,你的爆款值得被保护!

抱团交流
一个集大神卖家与逗趣同行于一体的交流群,扫码添加客服微信(备注“进群”哦)。
                                                目前100000+人已关注加入我们
                                                      
                                                      
                                                      
                                                      
                                                      
                                                      
                                                      
                                                      
                                                      
                                                      
                                                      
                                                上一篇:100年前的酒窝制造器在Tiktok重新引起热潮,专利已过期!
文章为作者独立观点,不代表AMZ520立场。如有侵权,请联系我们。
                                    