发明专利最阔怕!杯子堆放器简易专利改良迟早也得凉凉!
本期推文末端已向各位卖家推荐“两大合作伙伴”,感兴趣可扫码添加哦~
后台私信不停,多个卖家被专利警告,那问题来了:
这么多的杯子堆叠器,真的构成专利侵权吗?有没有申述的可能?!

我们先来看看原创的杯子堆叠器长什么样子以及对应的品牌独立站:

品牌:elypro
独立站:https://www.elypro.com/
Amazon品牌备案店铺:https://www.amazon.com/stores/ELYPRO/page/EB8E919A-65A0-483E-BD95-ACB4FC5EE32C?ref_=ast_bln

Amazon销量不是特别好,但是4000+也算很不错了。
这么有设计点的产品怎么可能没有注册专利!所以功能专利它来了!
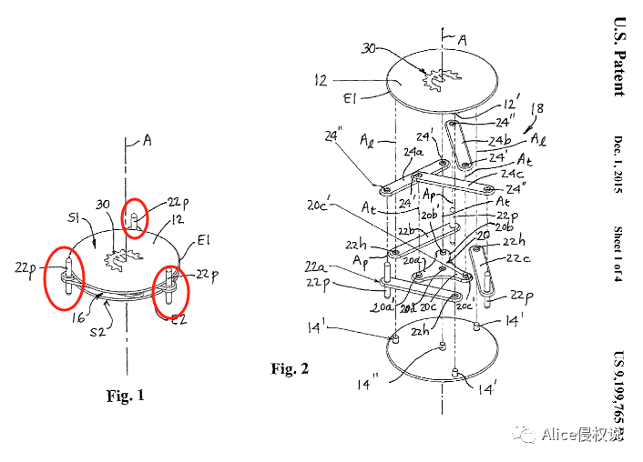
美国发明专利号US9199765


权利人采用了3根上下贯穿的固定卡扣,同时该卡扣链接了一个可旋转轴,
可旋转轴的自然状态,旋转角度呈现最大值,方便其放置双层杯子;后期为了放置磕碰移动,所以可以选择“旋转”该三角轴,这样就可以起到收紧加固的作用。
市面上的其他款式是什么样子呢?Alice直接举例说明:
第一种:换汤不换药、
只是把三角轴的重心圆盘形状变形而已。

第二种:鸡蛋碰石头,确实是尽力了
大致采用的类似像车载手机架一样,只是“横向”收紧加固,非“旋转”收紧加固。


这个脑洞确实非同凡可。但是功能专利想要申述确实难上加难。
所以初步判断,功能仿品这个是无疑
谨小慎微、
专利安全,且行且珍惜。
好了,以上则为本期“杯子堆叠器”的全部侵权内容。谨防专利版权侵权
请及时关注侵权资讯,排查自有选品库,谨防专利/版权侵权。
温馨提示:
专利侵权风险:☆☆☆☆☆
优质供应商强烈推荐
主营:小蓝海 全球专利布局 自主研发设计 私模定制 全品开发 欢迎扫码添加

优质服务商推荐
推荐
优质服务商
青枫法务(知识产权) 主营:TRO侵权案件和解应诉 专利商标版权注册

关注ALice,侵权不迷路
,有侵权问题直接私信来call!
抱团交流
一个集大神卖家与逗趣同行于一体的交流群,扫码添加客服微信(备注“进群”哦)。
目前100000+人已关注加入我们
文章为作者独立观点,不代表AMZ520立场。如有侵权,请联系我们。
