水槽防水垫发明专利侵权起诉中!国人卖家又添一案!
关注“跨境侵权哥”微信公众号,接收每日侵权资讯;
文末扫码添加侵权哥微信,发送“加群”进卖家交流群!
:
发案时间:2023/9/4
案件编号:23-cv-23380
原告品牌:防水垫发明专利
原告方:SHENZHEN HENGZECHEN TECHNOLOGY CO., LTD
侵权产品:防水垫
侵权类型:发明专利侵权
专利编号:US11559140B1




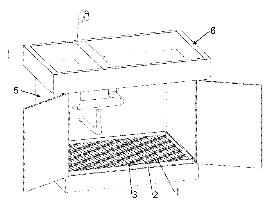
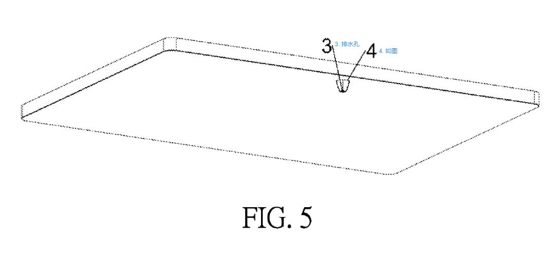
本实用新型用作水槽、水槽等下柜中的垫子,由硅胶等弹性体材料制成。为了使用方便,防水垫的边缘至少有与防水围栏等高的排水孔,排水孔可以上下折叠,排水孔在接收渗漏时呈凸形,以便 接漏不会从排水孔漏出污染柜体。当需要排水时,将带有排水孔的防水垫从柜体边缘拉出,并将排水孔向下折叠成凹形,这样接收到的漏水就可以很容易地从柜体中排出。排水孔,可以省去用户拆除整个防水垫清理漏水的麻烦,体现了部分拆除防水垫即可达到良好排水效果的功能。
全面系统学习跨境侵权相关知识
戳链接了解详情:a.第三期知识产权系列课程上线了!b.课程视频节选
产品侵权检索 可包年包月 还有套餐!
戳链接了解详情:a.侵权审核包月怎么包? b.查侵权套餐,是个什么情况?
发明专利 外观专利 分析规避
出具分析报告,提供规避建议,详情请私聊侵权哥
律所起诉维权 资金冻结
应诉or和解,费用低至1500rmb起
美国版权 英国外观专利 注册
费用低,时效快,你的爆款值得被保护!

抱团交流
一个集大神卖家与逗趣同行于一体的交流群,扫码添加客服微信(备注“进群”哦)。
目前100000+人已关注加入我们
文章为作者独立观点,不代表AMZ520立场。如有侵权,请联系我们。
