国产这款抬高器是否会侵权Bed MadeEZ家用床垫抬高器的功能专利?!
置
顶
本期推文末端已向各位卖家推荐“两大合作伙伴”,感兴趣可扫码添加哦~
还记得去年4月份跨境推出的抬高器新品吗?源自Bed MadeEZ品牌的抬高器一经上架就直接爆单了!

Amazon品牌备案店铺:
https://www.amazon.com/Bed-MadeEZ-11120-Making-Storage/dp/B079RJW85P?th=1
该品牌方除了已经做了品牌保护以外,专利也已注册齐全,专利布局简直完美!
外观专利+发明专利统统有注册!
| 专利类型 |
专利号 |
专利站点 |
| 外观专利 | D660115 | 美国 |
| 132765 | 加拿大 |
|
| 001175814-0001 | 欧洲 |
|
| 专利图示 |
|
|
| 发明专利 |
US2011179578A1 | 美国 |
| WO2010045351A | 全球 | |

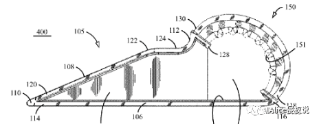
对方这款发明专利保护的点:大致有三部分构成:
1、第一高度接触面:亦指可用低角度方便插入床垫与床身之间;
2、同时随着该抬高器的倾斜坡道可更好的提高受力‘
3、最后可利用受力的平面的支撑面,形成支撑点,起到抬高的功能。

而对于国产的这款,ALice只能说,他可以起到抬高床垫的功能。但是是否真的会侵权Bed MadeEZ功能专利,还是有待考量的。
最重要的一个区别就是Bed MadeEZ抬高器有一个大约90度的受力夹角支撑面。但是国产的这款基本上是平角设计,所以最终起到的抬高功能很大程度都是不一样的。

当然,以上仅为ALice个人观点。
“搏一搏单车变摩托”,胆大的卖家可冲!
谨慎的卖家可继续观望!
好了,以上则为本期“抬高器”的全部侵权内容。谨防专利版权侵权
请及时关注侵权资讯,排查自有选品库,谨防专利/版权侵权。
温馨提示:
专利侵权风险:☆☆☆☆☆
优质供应商强烈推荐
主营:小蓝海 全球专利布局 自主研发设计 私模定制 全品开发 欢迎扫码添加

优质服务商推荐
推荐
优质服务商
青枫法务(知识产权) 主营:TRO侵权案件和解应诉 专利商标版权注册

关注ALice,侵权不迷路
,有侵权问题直接私信来call!
抱团交流
一个集大神卖家与逗趣同行于一体的交流群,扫码添加客服微信(备注“进群”哦)。
目前100000+人已关注加入我们
下一篇:亚马逊美国站秋季会员日开始!欧洲站点已有卖家小爆单!
上一篇:电商创业,无地址开网店营业执照办理流程?有营业执照的好处?
文章为作者独立观点,不代表AMZ520立场。如有侵权,请联系我们。

